Are AI Enhanced Animatronics Coming to Disney Parks? — Patent Filed for New Technology

Frozen Ever After ride in EPCOT at Walt Disney World.

Disney has filed a patent for advancements in animatronic projection technology, which could potentially use AI. Animatronic Projections Patent The patent is titled “Dynamic augmented projected show elements.” It was filed on March 1, 2024, and published on September 4, 2025. The inventors are Alfredo Medina Ayala Jr., Nicholas Daniel Gathany, Jonathan Bogie, Brent Yuzo … Read more

Disney & Universal File New Advanced Ride Patents

Diagram of an amusement ride with multiple arm attachments extending from a central hub, each ending in a passenger seat. Includes labeled parts and a controller box illustration.

Disney and Universal have both published patents for new advanced ride systems featuring more interactive and unique experiences. Details of the patents were first shared by Orlando Business Journal. Disney’s Rider Control System The Disney patent (figure above) is for a “rider-controlled amusement park ride” with a force sensor in the vehicle that guests can … Read more

Disney Files Water Flume Patent Hinting at Possible ‘Moana’ Ride

Technical diagram of a sailing vessel with various labeled components and a partially filled sail, designated as FIG. 3B. Arrows and numbers point to specific parts of the vessel, reminiscent of the detailed illustrations found in a Disney water flume ride patent.

Disney has filed a patent for a new two-dimensional guiding system that could change points of view on a water flume ride. The patent’s images hint at a possible “Moana”-inspired ride. Potential ‘Moana’ Water Flume Ride Patent The patent, named “Guided boat with external discrete yaw control,” was filed in 2020 and published in 2024. … Read more

Disney Files Patent for ‘More Aggressive’ Soarin’-Style Flying Theater Attraction & More: Daily Recap (3/31/24)

Disney filed a patent for a “more aggressive” version of the Soarin’-style flying theater attraction, the Hocus Pocus Villain Spelltacular was confirmed to return to this year’s Mickey’s Not-So-Scary Halloween Party, and a new live show debuted at EPCOT — all this and more in today’s daily recap for Sunday, March 31, 2024. Walt Disney World … Read more

Disney Files Patent for Floating Pram Possibly Inspired by ‘The Mandalorian’

Grogu in floating pram, airframe drone patent

Disney Enterprises filed a patent revealing they may be hoping to bring technology from “The Mandalorian” to life. Disney Patent for Drone Airframe The patent for “Airframe of a volitant body” was originally filed in late 2020, about a year after “The Mandalorian” premiered, and was published last month. Here is the abstract: Systems, methods, … Read more

Disney Files Patent for Improved Character Costume Visibility

The Walt Disney Company has filed a patent to improve visibility for performers in character costumes, Orlando Inno shared. Character Costume Visibility Patent The patent is called “Optical Viewfinder for Costume Heads.” It describes — and shows in the above image — a system of lenses within the head of a “fur character” suit. Usually, … Read more

Disney Files Patent for Air and Water-Powered Flying Robots

spider-man-stunt-show-1

Disney has filed a patent for flying robots that would be powered with a hybrid and air and water, Orlando Business Journal reports. The patent is for an “Untethered robot with hybrid air and water power for hovering and quick airborne movements.” It describes how they could control the movements of a flying robot through … Read more

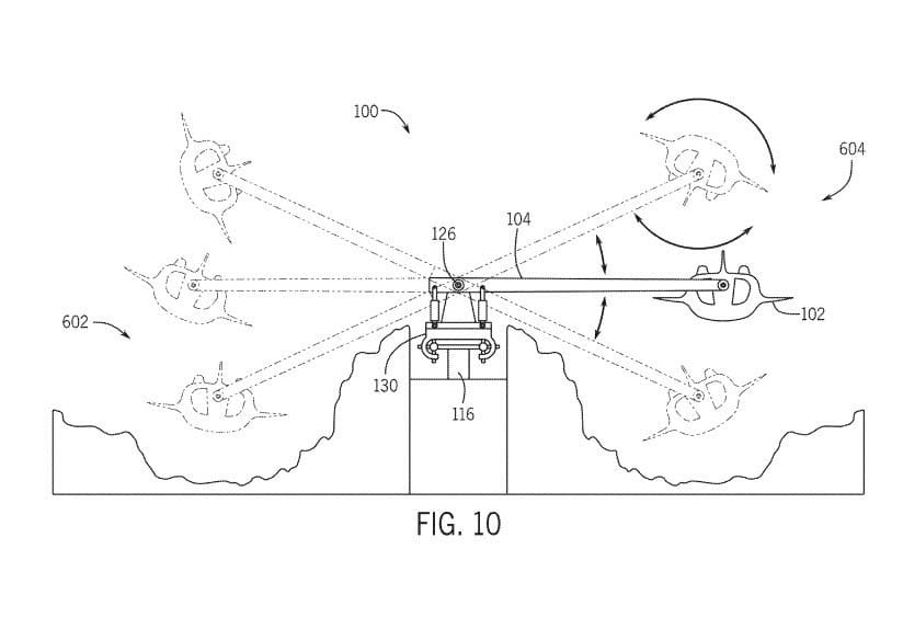
Disney Files Patent for Possible New Ride System With ‘Drop Swing’ Track

park ride with drop swing patent diagram

Every year, Disney Enterprises files patents for a wide variety of inventions – some of which become reality. Recently, a patent, which Disney submitted on May 17, 2021, was published. This patent is for a new park ride system entitled “PARK RIDE WITH DROP SWING PROPULSION.” This patent states this is a “park ride for … Read more

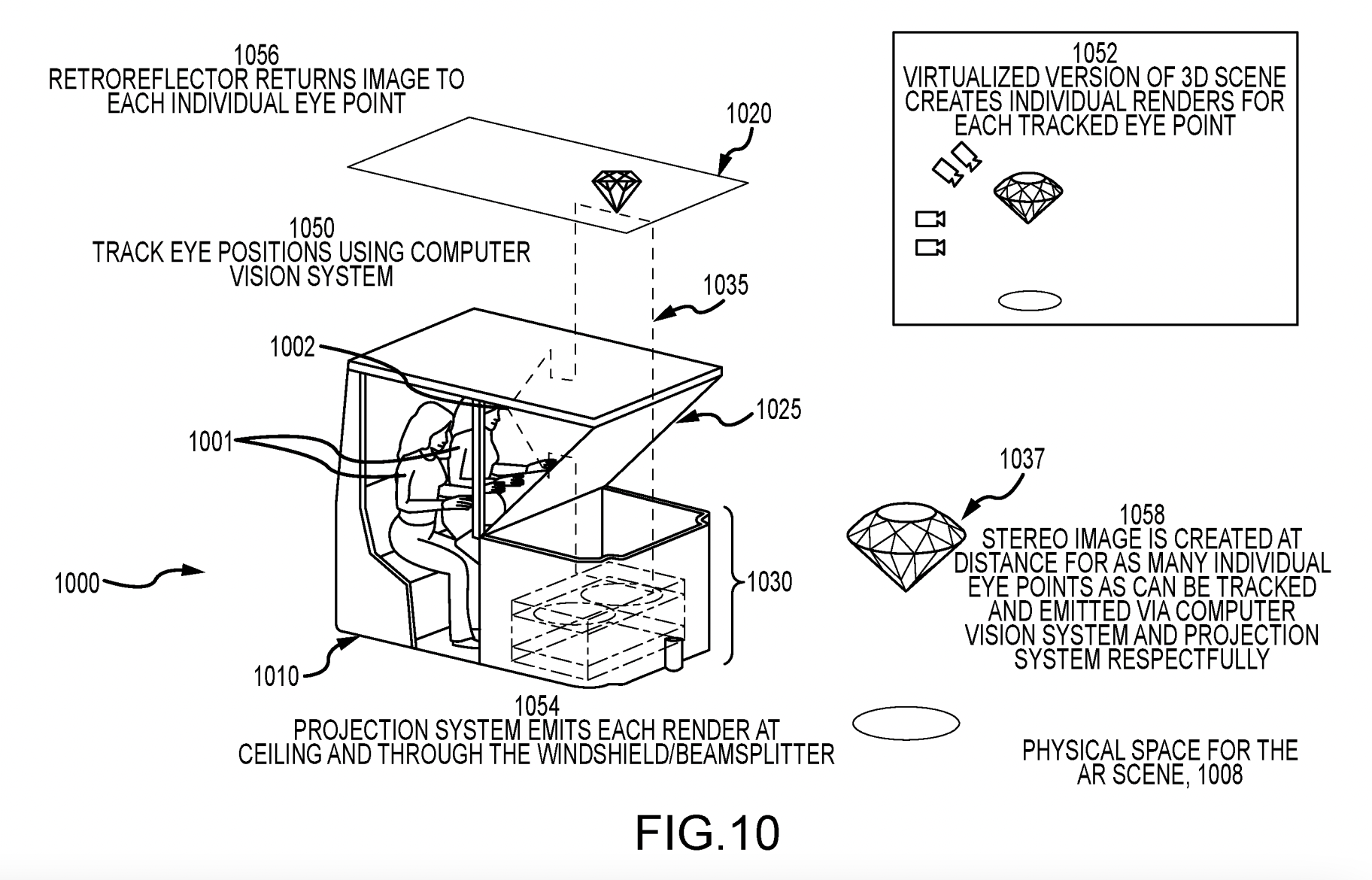
Disney Files Patent for Glasses-Free VR Attraction

Disney has filed a patent for a possible AR or VR attraction that would not require guests to wear 3D glasses or other headgear. The system would utilize a projection screen and beamsplitter, carefully positioned around a physical scenic space to create the virtual object — reminiscent of the Pepper’s Ghost effect used in the … Read more

WDWNT Daily Recap (3/9/21): Disney Stores Closures Begin March 23rd, Disneyland Theme Parks Reopening Next Month, Remy’s Ratatouille Adventure Opening October 1st, Disney College Program Optimistic to Resume by End of 2021, and More

daily-recap-disney-store-3-9-21-featured

We bring you a lot of stories every single day. Sometimes it’s hard to keep up. So in case you missed anything from our feed, we have rounded up all our stories in one place to get the news at a glance. Here is your Daily Recap for Tuesday, March 9th, 2021. Walt Disney World … Read more