Disney has filed a patent application that could revolutionize ride systems. It describes an articulating “boom arm” that could move a ride vehicle up and down, and side to side on a ride path.
Boom Arm Ride System Patent

The patent application (#20260027482) was filed on July 24, 2024, and published on January 29, 2026, by inventors Derek Lee Howard, Gaku Sato, and Edward Allen Nemeth on behalf of Disney Enterprises. Simply called “RIDE SYSTEM HAVING AN ARTICULATING ARM,” it’s summarized in the abstract as follows:
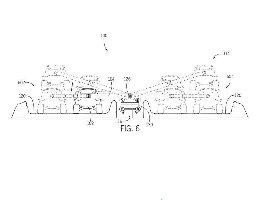
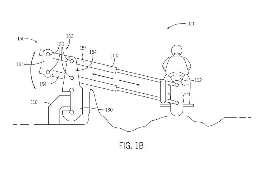
A ride system may include a ride vehicle configured to move along a ride path adjacent a track, and an arm coupled to the ride vehicle. The ride vehicle may be movable separately from the arm. The ride vehicle may include features to support the ride vehicle on a ride surface of the ride path, such that the ride vehicle may follow the ride’s terrain. The arm may articulate (e.g., move between positions) to adjust a position of the ride vehicle relative to the ride path. The arm may adjust the lateral and/or vertical position of the ride vehicle along the ride. The ride system may include a chassis coupled to the track, and the arm may be coupled to the chassis. The arm may be extendable and pivotable relative to the chassis, such as to adjust the position of the ride vehicle as the chassis rides along the track.

In layman’s terms, a long arm with a counterweight is attached to a ride vehicle. The arm could move the vehicle around as needed to simulate jumps, bumps, and even steering based on guest interaction. Guests could turn a wheel, push a button, or pull a lever.

Guests could even direct their vehicle to a second ride path. The application describes up to four different ride paths.

The system could allow vehicles to span real gaps in the floor. The illustrations depict a boat in water, a car, and a motorcycle-type vehicle. The system isn’t limited to these vehicles though, it could work with almost anything.

This follows other Disney patents aimed at giving guests more customized control over a ride experience. A 2020 patent also described a water flume ride that could change point of view.
The system is unique but reminiscent of a few different existing rides.

Stark Flight Lab, the flight simulator attraction coming to Avengers Campus at Disney California Adventure, will use similar technology. Guests will sit in “gyro-kinetic pods” that move along a track before arriving at a robotic arm. The robotic arm will then attach to the back of the pod — the robot link transfer. Then the arm lifts guests into the air for a flight test.
There’s the obvious KUKA arm ride system used for Harry Potter and the Forbidden Journey at Universal Islands of Adventure.

The possibility of controlling an actual car is similar to the existing Autopia / Tomorrowland Speedway at Disney Parks, although those cars run on fixed tracks and use a simple steering wheel mechanism. Mario Kart: Bowser’s Challenge at Super Nintendo World is another “racing” ride but the wheel in front of guests is related to shooting controls, not the movement of the vehicles.

Speaking of Super Nintendo World, the Donkey Kong coaster Mine-Cart Madness puts vehicles on arms that are mostly invisible to riders so they experience “jumping” breaks in a fake mine track. The ride system described by Disney could turn this illusion into a greater reality.
There are also trackless rides with pre-programmed movements like Remy’s Ratatouille Adventure and Mickey & Minnie’s Runaway Railway, which move guests across a solid floor without any connections. In addition to reacting to guest interaction, the arms of this new system could have pre-programmed movements.
This is just an application, not an approved patent, and even technology described in a finalized patent does not always see the light of day. But what do you think of this potential new ride system? Do you hope Disney puts it to use? Let us know on social media.
For the latest Disney Parks news and info, follow WDW News Today on Twitter, Facebook, and Instagram.








