A recent patent application filed by Disney Enterprises, Inc. indicates that a lightsaber-based Augmented Reality experience might be in the works. Based on the success of the Star Wars – Secrets of the Empire VR attraction at Disney Springs, there is reason to believe Disney wants to add more virtual Star Wars experiences.
The patent is described as:
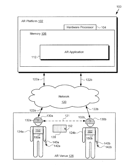
An augmented reality (AR) system for providing an AR experience to a user of an AR venue includes a hardware processor, a memory, a light detector, a display, and an AR application stored in the memory. The hardware processor can execute the AR application to provide a virtual environment corresponding to the AR venue on the display, and to detect a light event resulting from interaction of an infrared (IR) light produced by an AR accessory utilized by the user with a surface within the AR venue. The hardware processor can further execute the AR application to identify a location of the light event within the AR venue, determine whether the location of the light event is within an activation zone of the AR venue, and render a visual effect corresponding to the light event on the display if the location is within the activation zone.
Further examination of the patent showcases the possible use of the AR technology itself:
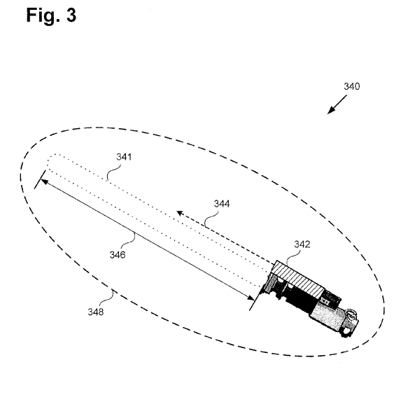
According to the exemplary implementation shown in FIG. 3, AR accessory is depicted as a virtual sword, such as a virtual light sword, for example, having virtual sword blade with length , and having activation zone . It is noted that, as used in the present application, the term “activation zone”, as applied to AR accessory, refers to a volumetric region of space in AR venue in which AR accessory can achieve scoring strikes or hits against a user or object within AR venue.
What immediately jumps out about this description is the term “virtual light sword”, indicating a virtual lightsaber that guests will use to compete against an opponent(s). It looks like guests will hold a physical sword handle, and the light blade will only exist in the virtual landscape via an augmented reality headset.

While this AR experience seems to be designed with Star Wars in mind, it is highly unlikely that it will be utilized in Star Wars: Galaxy’s Edge in Disneyland or Disney’s Hollywood Studios. This is due to the low capacity that AR experiences can handle, and the high demand expected for Galaxy’s Edge.
What seems to be the most likely fit for a Star Wars AR experience is the yet-to-be-built Star Wars Hotel at Disney’s Hollywood Studios. This hotel is described as a multi-day immersive experience, which could definitely utilize technology like this.
The hotel will also have a limited capacity far below that of Galaxy’s Edge, which makes an integrated AR experience much more of a viable option.









There has been a large amount of AR-based patents released over the past 6 months by Disney not covered by WDWNT. Where do they tie into the grand scheme?