
PHOTOS: Update on Innoventions Demolition in Future World
Staff Writer
During a ride on the Monorail, we got an aerial view of the changes taking place behind the construction walls in the former home of Innoventions. Let’s take a closer look! Most of the remaining debris from the demolition has been cleared and the ground flattened to prepare to lay foundation (literal and proverbial) for …

PHOTOS: New Star Wars Tatooine Spirit Jersey Landspeeds Into Disneyland Resort
Matthew Soberman
The planet that Anakin and Luke Skywalker once called home has been immortalized on a new spirit jersey available at the Downtown Disney District. Tatooine is the latest planet from the Star Wars saga to get the spirit jersey treatment, joining Hoth, which we found last month. The yellow-and-orange jersey features a silhouette of Luke …

PHOTO REPORT: EPCOT 2/14/20 (Valentine’s Day Around the Park, New Park Signage, A Shoe in an Escalator, and More)
Annie Wilson
It’s a very romantic day to be out and about at EPCOT. It’s Valentine’s Day, and there’s plenty of love around the park. We noticed the rental ECVs have been decorated with hearts and garland by the Cast Members. Guests who rented these ECVs got to ride around in style today. We found Valentine’s Day …

PHOTOS: New Night Lights Shaped Like Monorails, Castles, and More Arrive at Disney Parks
Matthew Soberman
Is there anything more magical than a Disney Parks visit? With these new Disney Parks night lights at the Downtown Disney District, you can keep the glow of a Disneyland trip with you when you get home! Monorail Night Light – $16.99 The coolest way to get around the Disneyland Resort is the subject of …

PHOTO REPORT: Magic Kingdom 2/13/20 (“Up” Phone Case, Blueprints on the Trash, Stitch Appreciation, and More)
Staff Writer
Good morning from The Most Magical Place on Earth, Magic Kingdom! Let’s see whats happening today. It was cloudy this morning, but the beauty of Cinderella Castle shines through! City Hall is still covered by scrim as it gets polished up. These Host a Ghost jars are going to be around forever, aren’t they? Happy …

PHOTOS: New Tommy Bahama Shirts (Pirates of the Caribbean, Island Mickey) Sail Into Walt Disney World
Staff Writer
Four new shirts from the Disney Parks Collection by Tommy Bahama have sailed into Walt Disney World Resort and are sure to make any Disney-loving Floridian or vacationer very happy. Check out the new arrivals below. Mickey Surfboard Button-Up Shirt – $130 Mickey is living his island dream on this light blue button-up, with graphics …

New Princess-Inspired Bridal Dresses to Debut as Part of the Disney Fairy Tale Weddings Collection
Jessica Figueroa
Dreaming of walking down the aisle in a Disney Princess character inspired dress? Your dream can now come true with the new Disney Fairy Tale Weddings Collection from Allure Bridals. The elegant collection features 16 gowns inspired by the style and spirit of Disney Princess characters such as Ariel, Aurora, Belle, Jasmine, Cinderella, Pocahontas, Rapunzel, …

PHOTOS: New Mickey and Minnie Mouse Baby Bibs Make Their Debut at Disneyland
Matthew Soberman
Let’s be honest: babies make messes. It’s just an unavoidable fact. Thankfully, you can protect your young one from food stains and show off their Disney side with these new bibs available at Disneyland! These durable bibs put your baby’s head on either Mickey Mouse or Minnie Mouse’s body, with both bibs showing the Disneyland …

PHOTOS: Pins, Leggings, and a T-Shirt Join the Ink & Paint Collection Lineup at Disneyland Resort
Matthew Soberman
From Mary Poppins‘ penguins to Peter Pan to a pair of pants (well, more leggings than pants), there’s a plethora of products to peruse from the Ink & Paint Collection at the Downtown Disney District! Ink & Paint Collection Pins – $12.99 each Each of these pins features a classic Disney character in its various …

PHOTO REPORT: Disney’s Hollywood Studios 2/13/20 (Large Crowds, Roundup Rodeo BBQ, and A Big Day For The Muppets)
Staff Writer
Good morning from an overcast but busy Disney’s Hollywood Studios! With temperatures predicted to top out around 85, it’s going to be a perfect park day. Vacation doesn’t always mean sleeping in! Everyone here is excited to experience all this out-of-this-world park has to offer. On our way into the park, we could see construction …

PHOTOS: New Mickey Ear Hat and Sleeping Beauty Castle Loungefly Backpacks Arrive at Disneyland Resort
Matthew Soberman
Is there anything more quintessentially Disneyland than a pair of Mickey ears and Sleeping Beauty Castle? Don’t get hung up on an answer, or you might miss these new Loungefly backpacks at the Downtown Disney District! There’s just something about a pair of standard-issue Mickey ears that just speaks to me. The simple design and …

REVIEW: Valentine’s Day Red Velvet and Vegan Black N’ White CakeShakes Delight at Black Tap Craft Burgers & Shakes in Downtown Disney District
Matthew Soberman
Valentine’s Day seems to bring out a lot of sweet treats across the Disney Parks, and Black Tap Craft Burgers & Shakes at the Downtown Disney District has gotten in on the fun with a one-day-only Red Velvet CakeShake! And while we were there, we decided to try the Vegan Black N’ White CakeShake that debuted …

PHOTOS: New Mickey “Ink & Paint” Limited Release MagicBand Brings Splash of Color to Walt Disney World
Staff Writer
If you’re looking to add a splash of color to your MagicBand collection, the latest MagicBand to arrive at Walt Disney World is from the “Ink & Paint” merchandise collection. The collection is inspired by the creative process of animation and features characters from some of Walt Disney Animation Studios’ earliest films. Let’s take a …

PHOTOS: New Attraction-Themed Valentine’s Day Photo Props Celebrate Love, Friendship, and Bananas at EPCOT
Jessica Figueroa
Today is Valentine’s Day, and there’s no better place to celebrate the day of love and friendship than at Walt Disney World… and what could be more romantic than construction walls at EPCOT? Luckily, the Cast Members throughout the park have come up with cute and inventive new photo props themed to attractions and World …

PHOTOS: New “Fantasia” 80th Anniversary Dooney & Bourke Bags and Spell-Binding Dress Arrive at Walt Disney World
Staff Writer
It’s been 80 years since Walt Disney’s masterpiece Fantasia first filled the big screen with fantastical animation set to classical music. In honor of this important anniversary, new spell-binding Fantasia merchandise has arrived at Walt Disney World, including a collection of Dooney & Bourke bags and a new dress. Let’s take a closer look at these magical new …

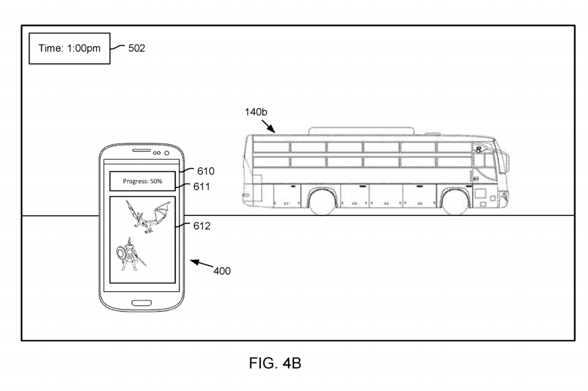
Patent Application Indicates Disney is Developing a Technology for Interactive Games on Vehicles, Could be Implemented on Walt Disney World Buses
From the Disney Skyliner to the new Walt Disney World buses with character wraps and charging ports, Disney is always trying to plus transportation offerings. A new patent application hints that Disney is looking to create an interactive experience for guests while riding said vehicles. From the patent application: One aspect of the present disclosure …

PHOTOS: New “Fantasia” 80th Anniversary Limited Release MagicBand by Dooney & Bourke Appears at Walt Disney World
Staff Writer
In celebration of the film’s 80th anniversary, a wave of Fantasia-inspired merchandise has hit Walt Disney World. Fantasia introduced the world to the now beloved character of Sorcerer Mickey. The new magical merchandise starring Sorcerer Mickey includes a jewelry collection and a line of Dooney & Bourke bags. Now, a new Dooney & Bourke Fantasia MagicBand has appeared! …

PHOTOS: New Temporary Park Exit Signs Installed at EPCOT
Jessica Figueroa
In case navigating EPCOT and its myriad of construction walls wasn’t hard enough, guests are now met with new temporary park exit signs as they leave the park from one of the new bypass walkways near The Seas. The temporary signage graces the exit, pointing to the passageway beneath the monorail beam. The words “PARK …

REVIEW: New Minnie Mouse Chocolate Chip Lava Cake is Perfect to Share with Your Valentine at Columbia Harbor House in the Magic Kingdom
Staff Writer
Minnie Mouse knows that the best way to stand out is to add a bow and some polka dots! She’s the inspiration for latest new dessert to arrive at Walt Disney World. The adorable new treat is a mouse-shaped chocolate lava cake topped with Minnie’s iconic bow. We stopped by at Columbia Harbour House (the only …

Former Walt Disney World Cast Member Files Lawsuit After Being Fired For Reporting Workplace Sexual Harassment
Matthew Soberman
A former Walt Disney World cast member is claiming in a lawsuit that she was sexually harassed by her supervisor, and was retaliated against after reporting it to upper management. According to WKMG‘s Erin Dobrzyn, the woman, whose name was not disclosed in the report, revealed in her lawsuit filed February 10th that she worked …

VIDEO: “Indiana Jones 5” Begins Filming In Two Months
Joe Hogarty
While promoting his upcoming film “The Call Of The Wild”, Harrison Ford confirmed that the next “Indiana Jones” will begin filming in two months. Ford sat down with a host from CBS Sunday Morning and was asked about the challenges of returning to the same roles years later. You can read the transcript and watch …

Bombardier In Talks to Sell Off Rail Division; Could Further Delay Potential New Monorails for Walt Disney World
In an unfortunate piece of news, it looks as if Bombardier, the makers of the Mark VI monorails at Walt Disney World, is in talks to sell their rail division to Alstom. Bombardier Transportation, the rail division of the company, makes subway cars, trains, and yes, monorails. This news comes on the heels of the …

February 15th Is Final Day of Operations for Pin Central, Electric Umbrella, New Paths Open Sunday at EPCOT
Jessica Figueroa
With the ongoing changes at EPCOT, the inevitable closure dates of Pin Central and the Electric Umbrella have finally been announced, as well as the opening of the new bypass walkways. On February 16, the Electric Umbrella, Pin Central, and nearby merchandise and outdoor vending carts will close. With these locations closed, guests will be …
Hong Kong Disneyland Grants Government Access to Vacant Site for Coronavirus Quarantine Facilities
Jessica Figueroa
With both Hong Kong Disneyland and Shanghai Disney closed due to the widespread Coronavirus outbreak in China, the parks have seen tremendous financial loss, but according to a recent article by the South China Morning Post, Disney is doing what it can to aid in recovery efforts. According to officials, Hong Kong Disneyland has agreed to …

PHOTOS: Bright Purple Moon Now Part of the Mission: SPACE Solar System at EPCOT
Annie Wilson
While visiting EPCOT today, we noticed what appeared to be a Cast Member staring at the moon. Not the moon in the sky, though. The moon which is located directly at the entrance of the Mission: SPACE attraction at EPCOT, looked a little different than we remembered. The bright purple coloring caught our attention, leading …

PHOTOS: New Directional Decals Added to Gateway Gifts, Illuminated Infinity Mirror Signs Installed Inside Pin Traders at EPCOT
Jessica Figueroa
“Decals, but make them futuristic.” It seems a new set of signage now decorates the exterior and interior of the newly-renovated entrance shops at EPCOT, starting with a bold red decal on the exterior of Gateway Gifts, where the base of Spaceship Earth is. Inside the new Pin Traders and Camera Center, cool new infinity mirror …

Phineas and Ferb Agent P’s World Showcase Adventure Ending February 17 at EPCOT
Jessica Figueroa
Confirmed in early December, Agent P’s World Showcase Adventure at EPCOT is being replaced with a similar interactive game featuring Huey, Dewey, and Louie, Webby, Scrooge McDuck from DuckTales in the all-new Disney’s DuckTales World Showcase Adventure. Now it seems we have a closing date for the long-running in-park game. Phineas and Ferb Agent P’s World …

Cast Member Preview Dates for Mickey & Minnie’s Runaway Railway Announced, Registration Opens February 16
Jessica Figueroa
All aboard the Runaway Railway hype train! In just a couple of days, Cast Members will be treated to a special preview of Mickey & Minnie’s Runaway Railway, and will be among the first to ride it! Registration for Cast Member previews of Runaway Railway open on February 16th, with previews officially starting on February …

PHOTO REPORT: Disney Springs 2/13/20 (“Fantasia” Dooney & Bourke, “Ink and Paint” Merchandise, and More)
Annie Wilson
We never say no to a day of shopping around Disney Springs, even if it’s just a quick visit to a few of our favorite shops. Let’s see what’s new around here! The new “Fantasia” Dooney and Bourke bags are on display in the window at Ever After Jewelry Co. If you’re not particular about …

Tokyo Disney Resort App Launches “Disney Photo” Service
Shannen Ace
Tokyo Disney Resort has a rather unique way of handling photos taken by Cast Members. We have a similar system to the old PhotoPass, where you hand a keycard to your photographer Cast Member after they take your picture. You can then order prints of those pictures online or at select points throughout both Tokyo …

Live Disney Parks Music Request Show Coming to WDWNTunes
Jason Diffendal
Today, February 13th, is World Radio Day, and how better to celebrate than by announcing a brand new show coming this month to WDWNTunes! The world’s only live Disney Parks music request radio show is coming to WDWNTunes starting February 24! Hosted by veteran broadcasters and Disney Parks enthusiasts ‘Cosmic’ Chris Reid and Jeff Mielcarz, …

MIKA Announced to Headline Disneyland Paris Pride 2020
Staff Writer
Everybody’s gonna love today, as MIKA has been announced as a headlining act for Disneyland Paris Pride 2020! I want the whole world to celebrate! Tweets by DisneyParis_EN The Grace Kelly singer has been named as the first announced act for the upcoming festival of Pride, which is set to return on June 6. I, …

REVIEW: The New Sweetheart Bear Cupcake is an UnBEARably Delicious Valentine’s Day Treat at Disney’s Beach Club Resort
Matthew Soberman
With Valentine’s Day nearly here, Disney’s Beach Club Resort has an offering that is, bear with me, unbearably cute: the Sweetheart Bear Cupcake! This cutie pie cupcake consists of a decadent chocolate base topped with chocolate frosting and filled with peanut butter cream. To make the bear decoration, several candies are used. The paws are …

PHOTOS: Cheers to a Whole New Line of Merchandise at EPCOT’S United Kingdom Pavilion
Staff Writer
It’s The British (Merchandise) Invasion at the EPCOT’s United Kingdom. We had an inkling that new UK merchandise was on its way when found new bags in the pavilion a few days ago. A slew of new items arrived at the pavilion today, including an adorable merchandise line themed around one of the most recognizable British …

PHOTOS: Jamba Officially Reopens After Refurbishment at Downtown Disney District
Staff Writer
The newly refurbished Jamba, previously Jamba Juice, has opened its doors once again at Downtown Disney District at the Disneyland Resort after closing in early November last year. The refurbishment showcases the brand’s new identity and name, a decision made to better reflect the full offerings available, and not just juices. The updated logo still …

REVIEW: New Valentine’s Day Chocolate-Covered Raspberry Cupcake and Concha Cream Puff Dessert at Disney’s Saratoga Springs Resort
Annie Wilson
Valentine’s Day is one of the sweetest times of the year, and the bakery team over at Artist’s Palette (in Disney’s Saratoga Springs Resort) has put together some desserts that are perfect for the occasion. There’s a chocolate covered raspberry cupcake and even a “hugs and kisses” cream puff. We’re ready to fall in love. …

TONIGHT on WDW News Tonight (2/13/20): The Dating Game, Places You Want to “Make Whoopee” at WDW, Valentine’s Day at Club 33
Tom Corless
Tonight! It’s WDW News Tonight, now with a live audience from our new studio on I-Drive in Orlando (tickets available here)! Join us at 9PM ET for a review of the week’s news, the awkwardness of WDWNT: The Dating Game, a Valentine’s Day report from Club 33, and probably our most ridiculous discussion to date! …

PHOTOS: Colorful New Muppets Apparel Steals the Show at Walt Disney World
Staff Writer
Lately, it seems that the Muppets are getting a little more love at Walt Disney World. Muppet*Vision 3D at Disney’s Hollywood Studios reopened earlier in the week after a short refurbishment to spruce up the theater. Over at Magic Kingdom, the beloved show “The Muppets Present…Great Moments in American History” will be brought back on …









